Camaro5 Chevy Camaro Forum / Camaro ZL1, SS and V6 Forums - Camaro5.com
 
KPM Fuel Systems
Go Back   Camaro5 Chevy Camaro Forum / Camaro ZL1, SS and V6 Forums - Camaro5.com > Specific Models / Packages > Camaro 1LE Forum


Reply
 
Thread Tools
Old 11-11-2015, 12:33 PM   #1
AGM 1LE

 
AGM 1LE's Avatar
 
Drives: 14 SS/ 1LE
Join Date: Jun 2013
Location: parts unknown
Posts: 937
Z/28 splitter

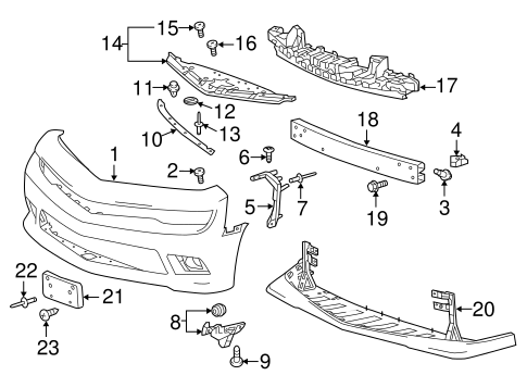
Trying to get a Z/28 splitter to put on my SS/1LE. In the pic on GMpartsdirect I can see #20 is the splitter and it looks like it has the support bracing with it already. What else is needed for the install?



http://www.gmpartsdirect.co/auto-parts/2015/chevrolet/camaro/z-28-trim/7-0l-v8-gas-engine/body-cat/bumper-and-components-front-scat
__________________
2014 1SS/1LE
AGP 57/57s, E85 + meth injection, Monster triple, ZL1 diff swap, Z28 coilovers
AGM 1LE is offline   Reply With Quote
Old 11-11-2015, 04:01 PM   #2
Jc's1LE

 
Drives: 2015 SW 1LE BA NPP Recaros
Join Date: Jan 2013
Location: lake mary FL
Posts: 904
Its called a Bolt kit i paid 250 from dealer
Jc's1LE is offline   Reply With Quote
Old 11-11-2015, 04:58 PM   #3
AGM 1LE

 
AGM 1LE's Avatar
 
Drives: 14 SS/ 1LE
Join Date: Jun 2013
Location: parts unknown
Posts: 937
Do you happen to know the part number for the bolt kit?
AGM 1LE is offline   Reply With Quote
Old 11-11-2015, 05:18 PM   #4
Jc's1LE

 
Drives: 2015 SW 1LE BA NPP Recaros
Join Date: Jan 2013
Location: lake mary FL
Posts: 904
No the dealer told me what they needed to order and there cost
Jc's1LE is offline   Reply With Quote
Old 11-11-2015, 09:46 PM   #5
Demon War Horse
War Horse Pilot
 
Demon War Horse's Avatar
 
Drives: 2017 NFG 1SS 1LE
Join Date: Jul 2014
Location: N.Texas
Posts: 2,458
Quote:
Originally Posted by AGM 1LE View Post
Do you happen to know the part number for the bolt kit?
There is a thread in the Z/28 section that has a diagram with the part numbers. There are several. The brackets do not come with it from what my parts guy said. I just need the splitter now as I have all of the bolts and brackets now.

If you message me your email, I can email the list I compiled if you want.
__________________
COTW 09/07/2015 - 2014 AGM 2SS/RS - RIP 6/01/17
2017 Nightfall Gray Metallic 1SS 1LE Born 5/17/17 - Click Sig Pic below for for Demon War Horse 02 Build Thread

SigPic by Hazman
Demon War Horse is offline   Reply With Quote
Old 11-11-2015, 11:16 PM   #6
AGM 1LE

 
AGM 1LE's Avatar
 
Drives: 14 SS/ 1LE
Join Date: Jun 2013
Location: parts unknown
Posts: 937
Quote:
Originally Posted by Demon War Horse View Post
There is a thread in the Z/28 section that has a diagram with the part numbers. There are several. The brackets do not come with it from what my parts guy said. I just need the splitter now as I have all of the bolts and brackets now.

If you message me your email, I can email the list I compiled if you want.
Pm sent
AGM 1LE is offline   Reply With Quote
Old 11-12-2015, 07:15 AM   #7
Demon War Horse
War Horse Pilot
 
Demon War Horse's Avatar
 
Drives: 2017 NFG 1SS 1LE
Join Date: Jul 2014
Location: N.Texas
Posts: 2,458
Quote:
Originally Posted by AGM 1LE View Post
Pm sent
I emailed the list of parts a moment ago from my work email since I had it on a spreadsheet.
__________________
COTW 09/07/2015 - 2014 AGM 2SS/RS - RIP 6/01/17
2017 Nightfall Gray Metallic 1SS 1LE Born 5/17/17 - Click Sig Pic below for for Demon War Horse 02 Build Thread

SigPic by Hazman
Demon War Horse is offline   Reply With Quote
 
Reply


Posting Rules
You may not post new threads
You may not post replies
You may not post attachments
You may not edit your posts

BB code is On
Smilies are On
[IMG] code is On
HTML code is Off

Forum Jump


All times are GMT -5. The time now is 11:49 PM.


Powered by vBulletin® Version 3.8.9 Beta 4
Copyright ©2000 - 2026, vBulletin Solutions, Inc.